네이버 인공지능(AI) 통·번역 서비스 파파고(Papago)가 영어, 중국어, 한국어 3개 언어뿐만 아니라 이미지 번역 기능을 업그레이드했다. 이미지 번역 기능의 경우, 여행지 현지에서 메뉴판을 번역하거나 간판만 보고 식당 이름을 찾아야 하는 경우에 유용하다. 이 기능은 파파고 앱 사용자의 25%를 차지할 정도로 사용 빈도가 높은 편이다. 이미지 번역 엔진 업그레이드 핵심은 딥러닝 기술을 활용해...
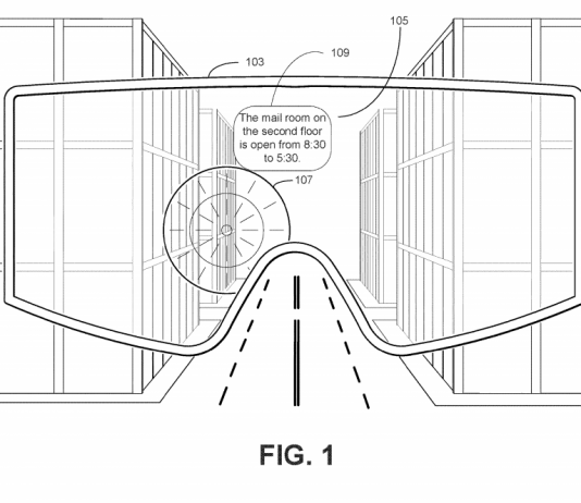
아마존이 택배 직원이 상품을 배달할 때 활용할 수 있는 증강현실(AR) 시스템 특허를 취득했다.아마존의 ‘배달 지원 증강현실(Augmented reality assisted deliveries)’ 특허는 2016년 10월 26일에 출원한 것으로 배달하기 가장 좋은 시간, 배달하기 가장 좋은 경로 및 주차하기에 가장 좋은 장소 등을 택배 직원 AR 헤드셋에 겹쳐서 알려주는 기술이다. 해당 특허는 2019년...
세계에서 가장 오래된 금융 기업 중 하나인 JP 모건 체이스(JP Morgan Chase)가 디스플레이 광고와 페이스북 광고, 이메일 마케팅 메시지 등에 인공지능(AI)을 도입한다고 밝혔다. 그동안 인간이 하던 마케팅을 AI가 수행하게 된 것이다. JP 모건 체이스가 실험한 AI가 만든 카피는 인간이 만든 것보다 클릭률이 2배가 넘는 경우도 많은 것으로 나타났다. JP 모건 체이스는...
삼성전자가 2분기 영업이익 6.6조원 실적을 기록했다. 삼성전자는 연결 기준으로 매출 56.13조원, 영업이익 6.6조원의 2019년 2분기 실적을 31일 발표했다.메모리 사업에서 판가 하락 영향을 받아 매출은 전년 동기 대비 약 4% 감소했고 영업이익은 무선 사업에서 플래그십 제품 판매 둔화 영향도 더해져 6.6조원을 달성했다.전 분기 대비로는 디스플레이 패널 사업과 CE 부문의 사업 실적이...
퍼블릭 블록체인 메인넷 플랫폼 심버스는 6월 IBK기업은행과 MOU를 체결했다고 30일 밝혔다.IBK기업은행은 블록체인 기반의 서비스모델을 수립하고 플랫폼을 개발·운영할 예정이며 심버스는 해당 플랫폼 개발과 관련하여 블록체인 기술이 적용된 시스템 구현에 협조한다는 계획이다.이번 협약은 최근 글로벌 대형은행을 중심으로 블록체인 기반 표준 플랫폼을 개발 및 구축하는 컨소시엄이 구성 중인 것과 무관하지 않은 흐름이다.현재...
LG전자가 2분기 연결기준 매출액 15조6292억원, 영업이익 6523억원을 기록했다.매출액은 전년 동기 대비 4.1% 증가하고 영업이익은 15.4% 감소했다. 매출액은 2분기 기준 상반기 기준 모두 역대 최대다. 상반기 매출액은 30조5443억 원이다.·H&A(Home Appliance & Air Solution) 사업본부는 매출액 6조1028억원, 영업이익 7175억원을 달성했다.매출액은 분기 사상 첫 6조 원을 돌파했다. 국내 시장의 지속적인 성장과 북미,...
삼성SDS가 베트남 IT서비스 시장에 적극 나서고 있다.삼성SDS와 CMC(CMC Corporation)는 베트남 현지에서 5월에 맺은 전략적 투자 협약에 따른 본 계약을 26일에 체결했다.이번 계약은 삼성SDS가 CMC 지분 인수 등 전략적 투자를 통해 최대 주주로서 이사회에 참여하는 내용을 담고 있다.삼성SDS는 이번 전략적 투자로 자사의 우수한 기술력과 솔루션을 CMC의 IT인프라와 영업망 등 현지...
벨로다인 라이더(Velodyne Lidar)가 매퍼에이아이(Mapper.ai)의 맵핑·로컬라이제이션 소프트웨어 및 지적 재산·자산을 인수했다. 이번 인수로 벨로다인의 벨라(Vella) 개발에 속도가 붙을 것으로 예상된다. 벨라는 벨라레이(Velarray) 라이더 센서에 없어서는 안 될 혁신적인 소프트웨어다. 벨라레이는 반도체를 이용한 첫 벨로다인 라이더 센서로서 비돌출형으로 자동차 전면 유리창에 탑재된다. 내장 부품으로 적용하는 만큼 첨단 운전자 보조 시스템(ADAS)의 효율성과 성능을...
LG전자가 아랍어를 지원하는 인공지능 TV를 중동시장에 본격 출시했다.‘LG 올레드 AI ThinQ’, ‘LG 나노셀 AI ThinQ’ 등 2019년형 LG 인공지능 TV는 독자 인공지능 플랫폼 ‘LG 씽큐(LG ThinQ)’를 토대로 2019년 처음으로 아랍어 음성 인식 기능을 탑재했다.LG전자는 세계 최초로 아랍어 음성 인식 기능을 적용한 TV 신제품을 사우디아라비아를 시작으로 이라크, 요르단 등 중동시장에...
현대자동차그룹이 하이브리드차의 주행 모터를 활용한 능동 변속제어(ASC; Active Shift Control) 기술을 세계 최초로 개발했다.이 기술은 앞으로 나올 신형 쏘나타 하이브리드를 비롯해 현대차그룹의 신차에 순차적으로 적용될 예정이라고 19일 밝혔다. 현대차그룹이 독자 개발한 ASC제어 로직은 하이브리드차를 구동하는 주행 모터를 활용해 자동변속기를 초당 500회씩 초정밀 제어하는 신기술이다. 이를 통해 기존 하이브리드차 대비 30%...
삼성전자가 역대 최고 속도를 구현한 ‘12Gb(기가비트) LPDDR5(Low Power Double Data Rate 5) 모바일 D램’을 세계 최초로 양산했다.삼성전자는 7월 말부터 2세대 10나노급(1y) 12Gb 칩 8개를 탑재한 ‘12GB LPDDR5 모바일 D램’ 패키지를 양산해 차세대 플래그십 스마트폰 메모리 시장을 선점하고 고객들의 공급 확대 요구에 빠르게 대응해 나간다는 전략이다.삼성전자는 12GB(기가바이트) LPDDR4X 모바일 패키지...
국내 업체가 영상지도 식별력을 극대화한 10cm 해상도의 전 국토에 대한 고정밀 항공영상지도 제작에 성공했다10cm 해상도는 피사체의 10cm를 픽셀(점) 하나로 인식하는 공간해상도(spatial resolution)를 의미한다. 항공영상지도는 여러 원인으로 왜곡될 수 있는 피사체들을 보정해 하늘에서 수직으로 내려다보는 것처럼 만든 지도다.삼아항업은 지난 12일 제작된 항공영상지도는 정확한 위치 결정과 지형 지물의 왜곡, 기복에 따른...
























![[보고서] 딥씨크 출현과 한국 AI 미래전략](http://8www.itnews.or.kr/wp-content/uploads/2025/02/7-218x150.png)

![[2024 애플 동향] ③ 애플카 ‘프로젝트 타이탄’의 실패 원인](http://8www.itnews.or.kr/wp-content/uploads/2024/03/1-2-218x150.png)
![[2024 애플 동향] ② 애플카 ‘프로젝트 타이탄’ 10년간 의 여정](http://8www.itnews.or.kr/wp-content/uploads/2024/03/4-218x150.png)
![[2024 애플 동향] ① 애플 프로젝트 타이탄’ 종료](http://8www.itnews.or.kr/wp-content/uploads/2024/03/Midjourney-218x150.png)












