세계 최대 인터넷 기업 구글이 인터넷 유통 최강자인 아마존과 이베이와 정면 승부를 선언했다. 비즈니스 인사이더를 비롯한 주요 해외 매체들에 따르면 구글이 수주 안으로 모바일 기기에서 검색할 때 ‘구매’ 버튼을 추가하기로 결정했다고 전했다. 이는 사용자들이 모바일 기기에서 상품을 검색하다가 마음에 들면 곧바로 구매를 할 수 있게 된다. 구글 검색이 유통과...
구글 2인용 무인 자동차(self-driving car)가 캠퍼스 주행을 마치고 구글 본사가 위치한 마운틴뷰 거리주행을 성공시켰다. 이번 무인 자동차가 시내 주행 성공은 캘리포니아 교통당국(DMV)이 소프트웨어를 통해 제어되는 차량 운행을 허가할 수 있는 근거를 마련했다는데 의미가 있다. 구글의 창업자인 세르게이브린(Sergey Brin)은 “예측불허의 사람이 운행하는 자동차보다 소프트웨어로 통제되는 무인자동차가 더 안전할 수...
애플이 다음 달 6에 발표 예정이던 스마트홈 플랫폼 홈킷(HomeKit) 출시가 8월이나 9월로 연기됐다. 월스트리트저널 5월 14일(현지시간) 보도에 따르면 출시 연기 사유는 애초에 예상한 것보다 소프트웨어 안정화에 생각보다 시간이 많이 걸리기 때문이라고 전했다. 애플은 이미 홈킷이 구동될 하드웨어 파트너사를 12곳 이상 확보하고 있고 관련 악세서리 제품 출시도 6월에 가능한...
페이스북이 검색시장에 도전장을 내밀었다. 페이스북 앱에서 기사, 사진, 동영상 등 콘텐츠를 직접 검색할 수 있는 서비스를 테스트하고 있는 것으로 알려졌다. 자체 검색엔진 서비스를 도입하기 전 테스트 단계임을 밝히며 구글, 마이크로소프트, 야후 등이 선점하고 있는 현재 검색시장에 새로운 지각변동이 일어날 것이라는 분석이 나오고 있다. 비즈니스 인사이더(Business Insider) 등...
IBM리서치가 양자 비트수를 확장해 복잡하고 엄청난 데이터를 순식간에 처리할 수 있는 양자 컴퓨팅 아키텍처를 개발했다고 한다. 양자 컴퓨터 실현을 위한 큰 숙제인 비트 반전 에러/국면 반전 에러를 보정할 수 있는 용장성(冗長性)을 갖게 한 아키텍처로 규모를 확대시키기 쉽다고 한다. 용장성: 규정된 기능을 수행하기 위한 요소 또는 수단을 부가하여 그 일부가...
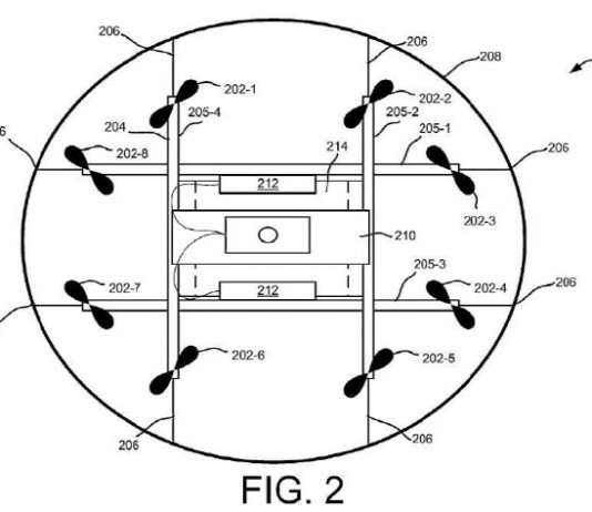
아마존(Amazon)이 2015년 4월 30일에 집 주소뿐 아니라 스마트폰의 위치 추적 시스템을 활용해 받을 사람이 있는 곳으로 곧바로 배송해주는 것을 골자로 하는 드론(Drone) 배송 시스템 관련 특허(UNMANNED AERIAL VEHICLE DELIVERY SYSTEM(20150120094, 30 Apr 2015)를 미국특허청으로부터 취득했다. 이 특허는 2014년 9월 30일에 출원했다. 아마존이 취득한 이번 특허의 핵심 중 하나는 현재...
구글(Google)이 또 문샷적인(Moon-shot, 달나라에 가는 10년 이상의 비현실적인 사업) 조종사 없는 무인 여객기(Self-Flying Jet) 개발의 프로젝트를 진행 중인 것으로 알려졌다. 지난 7일(현지시간) 영국 ‘데일리메일(www.dailymail.co.uk)’ 보도에 따르면 “무인 여객기 프로젝트는 드론(Drone) 프로젝트인 윙 프로젝트(Project Wing)의 일환으로 진행되고 있다”고 전했다. 윙 프로젝트는 그동안 택배에 타겟을 맞추어 추진해왔다. 2015년 2월 미국 연방항공청(FAA)에서의 불허와 아마존의 추격...
글로벌 트렌드 해설 – 환경편 글로벌 트렌드에 대한 정보가 넘쳐나는 시대다. 정보는 많지만 이를 어떻게 이해해야 하는지에 대한 해석은 부족하다. “글로벌 트렌드 해설”을 제목으로 각 트렌드에 대한 소개와 해석을 연재한다. 연재는 다음 순서로 진행된다. ▶ 사회편 ▶ 기술편 ▶ 환경편 ▶ 경제편 ▶ 정치편 - 미래세대 관점으로 본 환경의 변화 보이는 이득에...
구글이 8일 전 세계 세 번째, 아시아 최초로 창업 공간인 ‘캠퍼스 서울(Campus Seoul, www.campus.co/seoul)’을 열었다. 구글 ‘캠퍼스 서울’은 국내 스타트업의 해외 진출을 돕고, 여성 및 엄마 창업가 생태계를 활성화하고자 하는 비전을 갖고 설립됐다. 구글은 지난 3년 넘게 국내 스타트업 생태계 활성화를 위해 다양한 지원 활동을 펼쳐 오면서, 서울의...
KT가 업계 최초로 요금제와 상관없이 음성 통화와 문자는 무한 제공하고 데이터 이용량에 따라 요금을 선택할 수 있는 파격적인 요금제를 선보였다.KT(회장 황창규, www.kt.com)는 7일 광화문 West 사옥에서 열린 기자간담회에서 국내 최초로 2만원 대의 최저 요금으로 음성 통화를 무한으로 이용 가능한 ‘데이터 선택 요금제’를 8일 출시한다고 밝혔다.이는 2004년 월 10만원에 음성통화를...
미국 전기차 업체 테슬라가 지난달 30일(현지시각) 미국 캘리포니아 주 호손에 위치한 회사 스튜디오에서 기자간담회를 열고 가정용, 산업용, 공공용 배터리 모델을 공개했다. 테슬라의 배터리가 베일을 벗은 것이다. 엘론 머스크(Elon Musk) 테슬라모터스 최고경영자(CEO)는 이 자리에서 "지금까지 나온 배터리는 형편 없었다“며 ”친환경 에너지를 사용하는 범위를 확대해 나갈 것"이라고 말했다. 테슬라의 배터리는...
유럽의회가 구글의 반독점 과징금(약 64억달러) 정식 제소 등 독점 비판에 직면한 구글이 유럽 언론사 온라인 생존을 모색하는 ‘디지털 뉴스 이니셔티브’ 사업 지원이라는 히든카드를 내밀었다. 구글은 유럽 메이저 언론사 8곳에 3년간 1억5천만 유로(한화로 약 1750억 원)를 지원할 예정이며, 참여 언론사는 영국의 파이낸셜 타임즈와 가디언, 스페인의 엘 파이스, 프랑스 유력...
























![[보고서] 딥씨크 출현과 한국 AI 미래전략](http://8www.itnews.or.kr/wp-content/uploads/2025/02/7-218x150.png)

![[2024 애플 동향] ③ 애플카 ‘프로젝트 타이탄’의 실패 원인](http://8www.itnews.or.kr/wp-content/uploads/2024/03/1-2-218x150.png)
![[2024 애플 동향] ② 애플카 ‘프로젝트 타이탄’ 10년간 의 여정](http://8www.itnews.or.kr/wp-content/uploads/2024/03/4-218x150.png)
![[2024 애플 동향] ① 애플 프로젝트 타이탄’ 종료](http://8www.itnews.or.kr/wp-content/uploads/2024/03/Midjourney-218x150.png)







![[기획연재] 글로벌 트렌드의 한국적 해석(환경)](http://8www.itnews.or.kr/wp-content/uploads/2015/05/41-534x310.jpg)




