3년 후인 2023년에는 전 세계 자율주행이 가능 차량이 74만대 이상 증가할 것 전망된다. 가트너에 따르면, 전 세계적으로 인간의 감독 없이 자율주행을 구현하는 하드웨어가 탑재된 차량은 2018년 13만 7,129대에서 2023년 74만 5,705대로 증가할 것으로 보인다. 2019년 자율주행차 총 증가량은 33만 2,932대에 달할 것으로 예상된다. 이러한 성장세는 자율주행 기술 관련 규제를 가장 먼저...
가트너(Gartner)가 2020년 기업들이 주목해야 할 주요 전략 기술 트렌드를 발표했다. 가트너는 10월 20일부터 24일까지 미국 플로리다주 올랜도에서 개최된 가트너 IT 심포지엄/엑스포에서 공개한 전략 기술 트렌드는 두 가지 종류의 기술이다. 초기 상태에서 벗어나 보다 폭넓은 영향력과 활용 사례를 보이는 혁신적인 잠재력을 갖춘 신기술들과 급격한 성장세를 자랑하며 향후 5년 내 정점에 달할 것으로...
일본 제외한 아태지역 블록체인 솔루션 지출규모 2023년 30억 달러(한화 약 3조 4818억 원)로 전망된다. IT 시장분석 및 컨설팅 기관인 한국IDC는 전세계 블록체인 지출 가이드 보고서 ‘Worldwide Semiannual Blockchain Spending Guide’에서 일본을 제외한 아태지역의 블록체인 솔루션 시장이 올해 5억 2,270만 달러에 이를 것으로 전망했다. 이는 2018년(2억 8,948만 달러)보다 81% 증가한 수치다. IDC는...
애플제공이 10일(현지시간) 미국 캘리포니아주 쿠퍼티노 스티브잡스 극장에서 신형 아이폰11과 아이폰11 프로, 아이폰11 프로 맥스를 공개했다.올해도 어김없이 아이폰 11에 대한 국내외 미디어들 반응은 ‘더 이상 혁신이 없다’, ‘아이폰 XR에서 크게 바뀌지 않아’, ‘애플이 한계에 다다랐다’, ‘5G 네트워크를 지원하지 않아’ 등이다. 특히, 후면 듀얼·트리플 카메라를 사각형 안에 모아 놓은 것을 두고 국내외...
전 세계 인공지능(AI) 산업을 선도하는 미국의 뒤를 중국이 자본력과 데이터 수집량을 무기로 바짝 추격하고 있는 것으로 나타났다.미국 데이터혁신센터(Center for Data Innovation)가 최근 발행한 보고서 'AI 경쟁 누가 우승하는가? 중국, EU, 아니면 미국?(Who Is Winning the AI Race: China, the EU or the United States?)'에 따르면, AI 개발·연구에 있어 미국이...
애플이 2014년부터 극비리에 추진하고 있는 자율주행자동차 애플 카(Apple Car) 개발 프로젝트 타이탄(Titan)이 순항 중이다. 올해 초 200명 이상의 직원을 해고하는 등 다양한 문제에 직면하면서 프로젝트 타이탄 중단 위기를 맞고 있는 것으로 알려졌다. 하지만, 2019년 7월 들어 애플은 자율주행자동차 관련 특허를 취득하고, 새로운 특허를 출원하고 있다. 애플이 미국 특허청(USPTO)에 2019년 7월 16일에 취득한 특허...
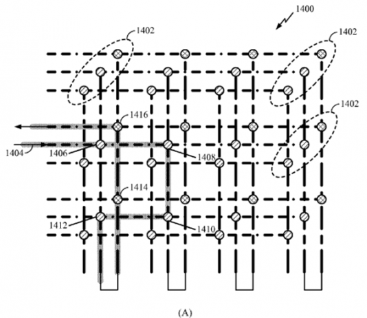
퀄컴(Qualcomm)은 “STDP와 도파민 신호를 가진 3개의 멤리스터 시냅스를 구성하는 방법과 시스템(Methods and systems for three-memristor synapse with STDP and dopamine signaling)”이라는 특허출원서를 2010년 7월 7일에 미국 특허청에 출원(12/831,594), 2012년 1월 12일에 출원서가 공개되고(20120011090), 2013년 4월 30일에 특허(8,433,665)를 등록(획득)했다. 따라서 이 기술은 2010년부터 연구개발하고 있었다는 것을 알 수 있다.이 특허는...
퀄컴(Qualcomm)의 인공지능 칩(AI Chip) 개발은 특허분석 결과 2010년으로 거슬러 올라간다. 그 후 2013년 10월 10일, 자사 블로그를 통해 인간의 Spiking Neural Networks(SNNs)를 모방한 뇌처럼 학습하는 프로세서(Neural Processing Unit, NPU, 신경망 처리 장치)인 '제로스(Zeroth)'를 공개했다. NPU는 사람의 뇌를 구성하는 신경망에서 아이디어를 얻었다. <그림> Qualcomm의 SNNs베이스의 NPU인 Zeroth(2013). Image source: Qualcomm 제로스는 인공...
마이크로소프트가 MWC 2019에서 혼합현실(Mixed Reality, MR) 웨어러블 홀로렌즈 2(HoloLens 2)를 공개했다. 극강의 증강현실(Augmented Reality, AR)을 구현하는 마이크로소프트 2세대 MR 헤드셋 홀로렌즈 2는 구체적으로 어떻게 달라졌을까?그동안 관련 매체와 전문가들이 홀로렌즈 2에 대해 제대로 다루지 않은 부분을 집중 분석한다. [youtube http://www.youtube.com/watch?v=BZ-Gl5pf0i4]■ 시야각(FOV, Field of View)마이크로소프트 기술 펠로우(Technical Fellow)이자 홀로렌즈 핵심 개발자인 알렉스...
2018년 4분기 전세계 스마트폰 판매량이 제자리 걸음하고 있는 것으로 나타났다.IT 리서치기관인 가트너에 따르면, 2018년 4분기 최종 사용자 대상 스마트폰 판매량은 4억 840만대로, 전년 동기 대비 0.1% 성장에 그치며 둔화된 양상을 보였다. 애플의 판매량은 11.8% 하락하며 2016년 1분기 이래 사상 최악의 분기별 하락세를 기록했다.2018년 4분기에는 시장 전반적으로 보급형과 중저가 스마트폰에...
자율주행 자동차 보급 때문에 도로 곳곳에서 정체가 일어나 도로 교통망이 마비될 위험이 있다는 연구 결과가 나왔다. ▲ 시간당 주차 비용 캘리포니아 대학 산타크루즈 캠퍼스의 아담 밀라드볼(Adam Millard-Ball) 부교수는 교통 마이크로 시뮬레이션 모델을 이용해 자율주행 자동차의 크루즈 기능을 분석한 교통정책 연구 결과를 세계 최대 온라인 저널 원문 데이터베이스 사이언스다이렉트에 'Autonomous Vehicle Parking...
글로벌 전기차 시장이 커지면서 핵심 부품인 배터리 시장도 가파르게 성장하고 있다. 시장 조사업체 카운터포인트리서치의 전기차 시장 전망 보고서에 따르면 글로벌 전기차 시장은 2018년 150만대에서 2025년 1000만대 수준까지 성장할 것으로 전망된다.글로벌 배터리 시장을 아시아 업체들이 주도하고 있는 가운데 전통적인 자동차 시장의 강호인 독일을 중심으로 한 유럽연합에서는 정부의 주도하에 현지 기업들의...
























![[보고서] 딥씨크 출현과 한국 AI 미래전략](http://8www.itnews.or.kr/wp-content/uploads/2025/02/7-218x150.png)

![[2024 애플 동향] ③ 애플카 ‘프로젝트 타이탄’의 실패 원인](http://8www.itnews.or.kr/wp-content/uploads/2024/03/1-2-218x150.png)
![[2024 애플 동향] ② 애플카 ‘프로젝트 타이탄’ 10년간 의 여정](http://8www.itnews.or.kr/wp-content/uploads/2024/03/4-218x150.png)
![[2024 애플 동향] ① 애플 프로젝트 타이탄’ 종료](http://8www.itnews.or.kr/wp-content/uploads/2024/03/Midjourney-218x150.png)



![[분석] 아이폰11, “아이폰 12 AR 구현 전 단계”](http://8www.itnews.or.kr/wp-content/uploads/2019/09/a0-534x419.png)

![[특허] 애플 자율차 최근 특허 동향](http://8www.itnews.or.kr/wp-content/uploads/2019/07/apple-titan-534x445.png)
![[AI 특허] 인간의 도파민 방출 신호를 칩으로 개발](http://8www.itnews.or.kr/wp-content/uploads/2019/07/10-534x462.png)





